четверг, 28 февраля 2013 г.

Измеритель ёмкости электролитических конденсаторов


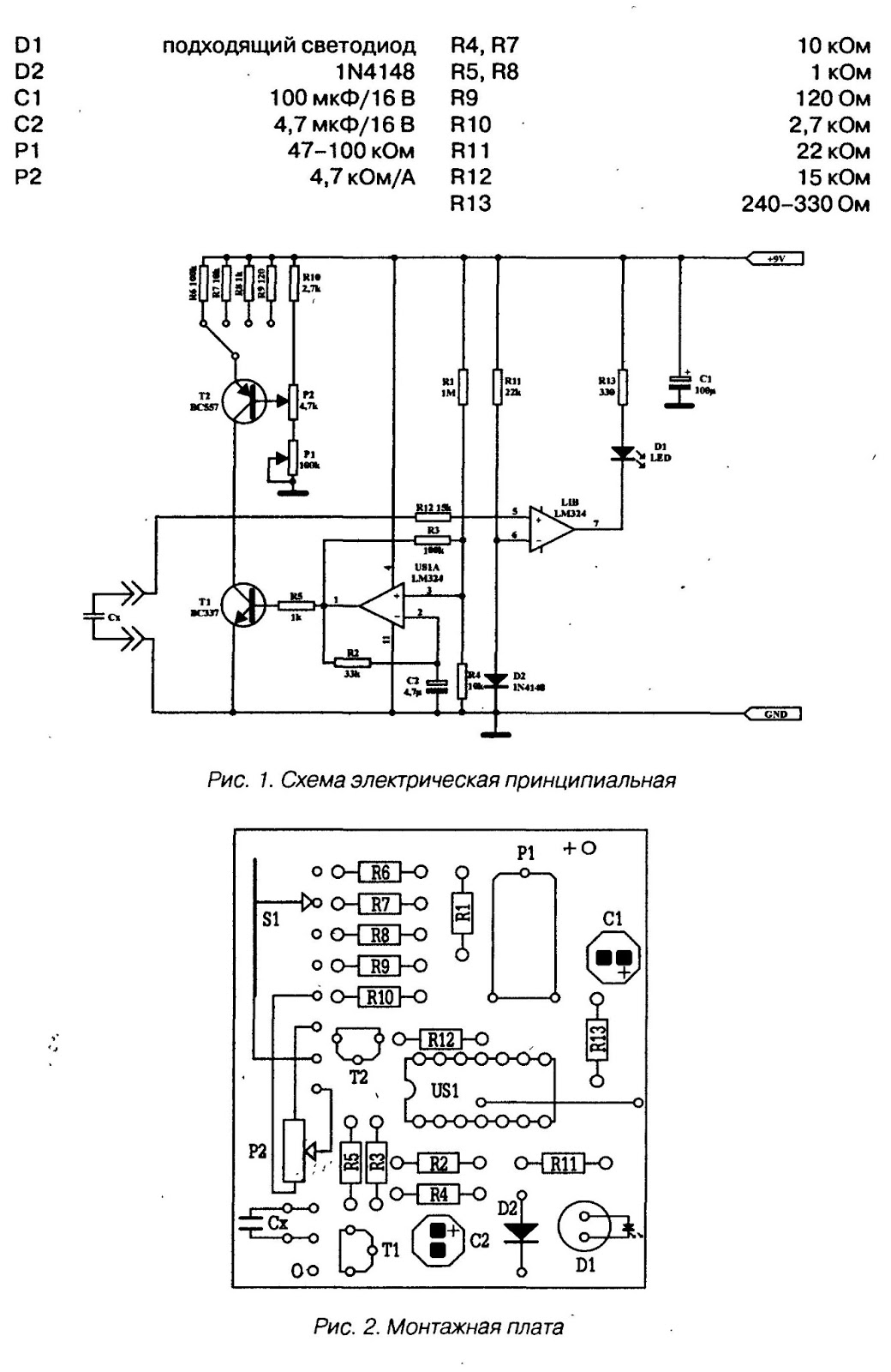
 Этот измеритель является простым устройством, служащим для измерения емкости электролитических конденсаторов от 1 мФ до 4700 мФ. Его точность - около 5% - в большей мере зависит от точности исполнения и градуировки. Принцип действия устройства следующий: измеряемый конденсатор Сх заряжается током от регулируемого источника с транзистором Т2 и разряжается импульсами через транзистор Т1.

   Среднее значение напряжения Ucx зависит от емкости Сх, а также от силы тока, подаваемого от источника. Это напряжение сравнимо с напряжением смещения на компараторе, который сигнализирует момент совпадения этих двух напряжений путем загорания светодиода. Значение емкости считывается со шкалы потенциометра, регулирующего силу тока источника.
Конструкция измерителя ёмкости основана на двух операционных усилителях, входящих в состав интегральной схемы LM324. Один из них (ICla) играет роль генератора управляющих импульсов Т1. Второй является компаратором, который сравнивает напряжение диода D2 (напряжение смещения) с напряжением на измеряемом электролитическом конденсаторе и в зависимости от результата сравнения вызывает пульсирующее или постоянное свечение светодиода D1. Аккуратно собранная, согласно схеме, система начинает работать сразу, требуя только градуировки образцами конденсаторов известной емкости. Градуировка основана на подключении эталонного конденсатора вместо Сх и таком установлении потенциометра Р2, при котором наступает переход от пульсирующего к постоянному свечению светодиода D1, а также отметке этого положения и описании его значением емкости эталонного конденсатора. Несмотря на то что шкала прибора является линейной, стоит проградуировать ее несколько раз, добавляя конденсаторы разных емкостей.
   Питание устройства осуществляется от стабилизированного источника напряжением 9 В. Потребляемый ток не превышает 20-30 мА, отсюда возможность питания устройства от батареи элементов. 
схема измерителя ёмкости электролитических конденсаторов

Комментариев нет:

Отправить комментарий